目前市面上主流的真空计有四种:皮拉尼真空计、电容薄膜规、热电离规、冷电离规(潘宁规)。下面我们分别介绍这四种真空计的原理及特点。
皮拉尼真空计:它的原理是加热电阻丝,使电阻丝升温至需要的工作温度。由于气体粒子与电阻丝碰撞离开时会带走能量,电阻丝的温度会发生变化。热电阻丝的能量损失与其周围的气体浓度以及气体成份成比例关系。由此又衍生出两种类型的皮拉尼规,第一种是温度稳定,测量电压变化;第二种是电压稳定,测量温度变化。对电阻丝在不影响精度与速度的情况下加以最大保护,能够大大延长电阻丝的使用寿命。

皮拉尼真空计测量范围一般为5x10-4~1000mbar。一般用于各种高真空泵的前级压力测量,如光伏、镀膜、等离子行业等,也用于各种中低真空测量。
电容薄膜规:它的原理是利用真空压力,压力使膜片变形,变形量与压力大小成比例关系,通过测量不同压力下的陶瓷膜片的变形量来测量真空度。这种真空计能在严酷和腐蚀性环境中,提供稳定可靠的高精度压强测量,它具有快速的预热和恢复时间,卓越的长期稳定性、再现性和重复性,对环境条件变化的敏感度降低。

电容薄膜规一般用在要求比较高的、精确而快速的测量,如刻蚀、半导体等。
热电离规:它的原理是利用高温灯丝发射高能量的电子撞击气体分子,气体分子的一个或多个电子被撞击出去,形成带正电的离子,离子流的大小与气体压力成比例关系。

热电离规一般与皮拉尼规或薄膜规复合在一起,具有测量范围宽,普遍应用于从低到超高真空的测量,在工业、半导体、科研单位应用广泛。
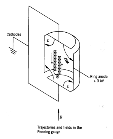
冷电离规(潘宁规):它的原理是通过气体放电方式产生电子,再通过磁场使电子获得能量将气体分子电离,离子流的大小与气体压力成比例关系。

冷电离规的测量范围为5x10-9~1x10-2mbar,全金属密封,无灯丝,易清洗,应用于普通的高真空测量。
(慧朴科技,huiputech)
D-sub真空连接器真空母插头XF-D15-D32-PEEK(适配DB15标准插头)
2026-01-26
D-sub真空连接器真空母插头XF-D50-PEEK(适配DB50标准插头)
2026-01-23
D-sub真空连接器真空母插头XF-D37-PEEK(适配DB37标准插头)
2026-01-23
联系人 : 王先生
手机 : 18588203671(微信同号)
Fax : 18588203671
Email : Martin@huiputech.com
Address : 深圳市龙岗区宝龙五路2号尚荣科技园F栋三楼